
Apple запатентовала экран со встроенным в дисплей отпечатком пальцев, который может появиться в iPhone уже в 2017 году, сообщает PhoneArena.
Читайте такжеВ Украине официально разрешили пользоваться iPhone 7
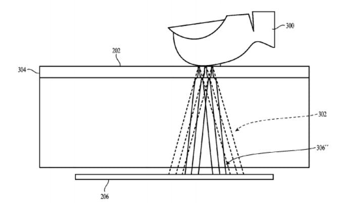
Недавно опубликованный патент представляет новую технологию емкостного экрана, сенсор которого будет работать через щели в поверхности. Это позволит разместить сканер отпечатка за экраном.

Ожидается, что iPhone 8 получит OLED-экран, который будет занимать всю переднюю панель от края до края, и пользователям придется попрощаться с привычной кнопкой "Домой" - ее заменит виртуальная сенсорная кнопка.
В недавно представленном iPhone 7 физическая кнопка уже заменена сенсорной, которая имитирует нажатие вибрацией. iPhone 8 планируют выпустить в 2017 году, минуя промежуточную модель 7s.